Продукция финской компании «Uponor» пользуется большой популярностью во всем мире. Не так давно она была представлена и российским покупателям. Многие сегодня смогли по достоинству оценить преимущества, которыми обладает септик «Упонор». Данное очистительное сооружение –образец европейского качества. Все три модели в линейке описываемого бренда способны похвастаться высокой прочностью корпуса. Он выполнен методом литья, в качестве основного сырья для его изготовления выступает полиэтилен максимальной плотности. Вот почему по многим техническим характеристикам финский септик во многом превосходит отечественные аналоги.
Существующие виды
Для того чтобы сделать правильный выбор, важно изучить преимущества и недостатки всех моделей финского производителя. В его линейке пока представлены три устройства:
- Септик «Uponor Sako». Это отстойники разного объема, разной производительности. Выбирая их, необходимо будет дополнительно сооружать элементы почвенной доочистки.
- Очистительная система «Uponor Bio».
- Устройство «Uponor BioClean 5».
Описание технических характеристик каждой очистительной системы позволяет формировать представления о ее основном предназначении.
Финский септик «Uponor Sako»
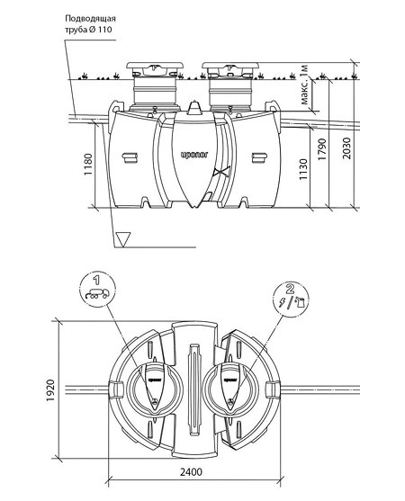
Модель финского септика «Упонор Сако» имеет необычную форму. Она может состоять из двух или трех, как это показано на фото, секций сферической формы. Такая конструкция легко выдерживает любое давление грунта. Подобная очистительная система способна обслуживать один большой, или два маленьких загородных дома. Принцип действия данного септика предельно простой:
- Канализационные стоки просто отстаиваются, переливаясь из одной камеры в другую. Взвеси при этом под действием силы гравитации разделяются на тяжелые и легкие фракции.
- Тяжелые частицы канализационных стоков постепенно оседают на дно и выпадают в осадок, легкие взвеси самотеком перетекают из камеры в камеру, заметно светлеют, а потом попадают в поля фильтрации, где происходит их окончательная доочистка.


Обратите внимание! При выборе двухкамерного или трехкамерного финского септика «Упонор Сако», важного учитывать количество людей, проживающих в доме. Исходя из него, выбирать устройство нужной мощности.
Финский «uponor» септик по своим техническим характеристикам мало чем отличается от аналоговой отечественной продукции (септика «Танка», например). Голос в пользу выбора европейского изделия можно отдать только за высокие прочностные показатели камер.
Недостатки у септика «Упонор» такие же, как у всех других накопительных систем. Устанавливая его, нужно будет решать проблему с грунтовыми водами, производить дополнительное утепление, бороться с неприятным запахом. Стоит финский септик на порядок выше отечественных септиков, при этом практически ничем не отличается от наших российских накопительных пластиковых камер.
Сеть септиков «Uponor Bio»
Очистительная система «Uponor Bio» — целая сеть септиков, принцип работы которых построен на полной биоочистке. Она позволяет очищать канализационные воды всего на 70%. Поэтому любой uponor септик из серии Bio обязательно подключается к фильтрационному полю.
Обратите внимание! Описываемая серия имеет одно преимущество перед аналоговыми отечественными установками. Стоки, попадая в финский септик, перерабатываются порционно, подобный принцип работы позволяет добиваться одинаковых показателей очистки.
Септики «Упонор» из серии Bio имеют все необходимые сертификаты качества, работа их соответствует высоким европейским стандартам. Простота эксплуатации, долговечность, надежность работы – дополнительные бонусы в копилку достоинств финских очистительных систем. Недостаток у них один – высокая стоимость. Во время эксплуатации септика тоже придется тратиться на покупку дорогостоящих реагентов. Это необходимо учитывать, планируя приобрести описываемую очистительную систему.
Септик «Uponor BioClean 5»


Септик «Uponor BioClean 5» — устройство нового поколения, внешне оно мало чем отличается от других септиков обозначенной линии, оно работает иным образом:


- Сначала стоки попадают во вместительный отстойник, в нем происходит элементарная очистка нечистот, позволяющая делить взвеси на легкие и тяжелые фракции.
- Затем вода самотеком переливается во второй отсек. Там живет колония аэробных бактерий. Они питаются легкой взвесью. Биоочистка позволяет очистить стоки на 60%.
- После этого стоки попадают в третий отсек камеры (деление общего корпуса на секции хорошо видно на фото). В нее добавляется флотирующий реагент. Он способствует выпадению осадка. Когда на дне третьего отсека скапливается достаточное количество ила, он откачивается в первую приемную камеру, а стоки переливаются принудительным способом в колодец.


Септик «Uponor BioClean 5» имеет небольшие размеры. Габариты устройства отображены на фото. В комплектацию данной очистительной системы входят две анкировочные плиты, крепежные элементы, 15 литров химического реагента (годовой расход 60 литров), удлинительные трубы и кольца уплотнения.
Преимущества покупки финского септика «Uponor BioClean 5» очевидны:
- Данная модель подходит для создания канализации в доме с постоянным проживанием семьи из пяти человек.


Панель управления септика Uponor BioClean - Описываемая установка укомплектована беспроводной панелью. Она исполняет роль системы контроля и сигнализации. Панель крепится в доме. Данное приспособление способно подсказать время, когда необходимо добавить в третью камеру реагент, когда внутри септика сформируется слишком высокий уровень воды в первом резервуаре осаждения, когда необходимо вызывать ассенизационную машину.
- Септик имеет три рабочих режима: режим стандартной очистки, ожидания и режим отпуска (он помогает создавать условия для воспроизводства бактерий).
- По всей территории России работают сервисные центры финской компании, при необходимости они помогут устранить любые неполадки, возникшие в процессе эксплуатации финских септиков.
Обратите внимание! Трехступенчатая система очистки, которая обеспечивает финский септик (механическая, биологическая и химическая), а также порционный способ очистки, позволяет полностью исключить возможность конфликтов с соседями из-за появления неприятного запаха из канализации.


Благодаря продуманному дизайну септики «Упонор» позволяют максимально маскировать наличие очистительных сооружений. После установки на поверхности земли остаются только пластмассовые крышки.
Перечень сервисных мероприятий
Для того чтобы септик «Uponor BioClean 5» работал эффективно, необходимо самостоятельно проводить определенные сервисные мероприятия.
Раз в два года производить добавление химического реагента. О необходимости подобного действия подскажет панель управления.
Раз в год из резервуара осаждения нужно откачивать ил. Откачка производится посредством ассенизационной машины.
Производить ревизию камер на предмет наличия илового осадка не нужно, нет необходимости ежегодно промывать септик водой. Система работает таким образом, что ил скапливается только в первой камере. При качественной ассенизации проблема с накоплением осадка решается полностью.
Обобщение по теме
Отдавая предпочтение септикам «Упонор», человек обеспечивает себе комфортную загородную жизнь. Он решает вопрос с канализацией, раз и навсегда получает контролируемую систему очистки.